<先月へ2005年12月来月へ>
一番下へ
2005/12/27 2:01
続・エミル1dayチケット

10枚購入。


で、最初に開けた2枚で、昨日でなかった、
テントとヘアサロンが出る・・・・・・。
・・・・・まぁ、出ないよりは良い。


結果
花火:1
ファイアウォール:1
文字T:1
誰テント:2
モノマネ:2
エクスプローション:1
フシギ団:1
ヘアサロン:1


計:
花火:4
ファイヤーウォール:3
文字T:3
ホムラステッキ:2
誰テント:2
モノマネ:3
エクスプローション:3
ECO缶:3
ピボットステッキ:2
フシギ団:3
ヘアサロン:1
うさぎ:1

やはりノーマル位の率ででるフシギ団。


ところで、まだファミマからネコマタ届かない。
まぁそれはそれとして、届けば90日チケットが来るし、
どうせ週末しかやらないから1dayチケット30枚もあれば当分遊べそうな気がする・・・。

といいつつも、最近はどうも一応毎日ログインしてるなぁ。
それでも30枚あれば1ヶ月分には。


2005/12/26 1:01
本日はクリスマス(って、もう日付変わってるけどな)
どうでも良いけど、「X'mas」ってアポストロフィを付けるのは誤記なんだそうだ。


せっかくの連休、ECOしかやってません。
廃だなぁ。

せっかくだから記念撮影。
(協力してくれた某氏、ありがとう。たぶんここは見てないだろうけど。)


プレゼントの配達に疲れて寝てる2人(ということにしておく)。
実は、この位置に2人座らせるのはとても難しい。
SS撮影中に、まちがって変な所をクリックして歩いたりして、
「しまったぁーーー。」とか言ってたり。



ハートフル・・・・。
ラブラブですねぇ。


ところで、このSS撮ってるとき、結構な時間ここ占有してました。ゴメンナサイ。
そんなに人多い時間でも無かったけど・・・・。




もういっこ。

1dayチケットをとりあえず20枚購入。
中身としては、
花火:3
ファイヤーウォール:2
文字T:2
ホムラステッキ:2
誰テント:0(!)
モノマネ:1
エクスプローション:2
ECO缶:3
ピボットステッキ:2
フシギ団:2
ヘアサロン:0
うさぎ:1


まあ標本数としては少ないけども、
レアのはずのフシギ団とノーマルがほぼ同率。
そしてスーパーレアは出たのに、ノーマルの誰テントが1枚も出ない。

という結果です。レアはそんなに確率低くないのかも。
でもヘアサロンが欲しいんであと10枚くらいは買ってこないと・・・・。
当分、普通に課金しなくてもいい予感。



ああ、あと、
ファミマから緑ネコマタがまだ届きません!
19日に発送済みのメールは来たんだけどなぁ。。。。

2005/12/22 1:31
そして懲りずに続く。
結果はでた。

VHDLで書くなら、Xを17ビットレジスタとして、

X <= X(15 downto 0) & (X(16) xor X(13) xor 1);

こうだね。


・・・つまり、やっぱり(p,q)=(17,14)で合っている。
昨日一致しないと言っていたのは、単にビットが反転しているだけだった模様。

ところで、M系列の式の解析はどうやるか。というと、こんな方法で機械的に求めることが出来る。
たとえば、サンプルしたデータはこんな感じ(一部分)。
10110100011101000111010000010100000101011010010110100011101110111010000011001100101011001010101100011011000001100001111001100100
10001001010111111001111000101110010010000101000111111010100100001110100011110100001010000101010101001010100000000111000010111110
00000101010110001110100000110000001010110010011101000110111100010100011101000010010000010101011111011010000010110111101011010111
10101001110010101000110000110000100010010010010110011111111110110100111111101111011001111011010111010010111100100101110101001111
10100100011001101011110001010110010100001000110110010101100011110110001100000101110000100110101000010111011000101010100111000100
00001100000011011100100111001110001111000010000000010001011011111011001011110110111011010101111100111100001011001001000101011011
11110010001111011100111000010110001000001010110001101101000110000111110100010010001101010011111000110001100110000010000101010011
01101010000110111110001010011101100001001100011100101110100000001101001010111100110111000101001011100000100111010000110111000101
01001110000010000110000011011010010011001111101111101010011011011010001101111111101000111011111010100000110110100010110011111010
01011010011010111011101101100100110011111101111010100111011010100011000111100010001000001000011001101101101001010111111110111000
10111110110000010101101110011010001111000101101000010000101110101011010101001000011100000111101000000110001010101110010001000001

で、この羅列をみてパッと思い浮かぶような人が居たら、それは変な人だ。じゃあどうやってやるか。
周期が131071で17ビットということが解っているので、まず先頭18ビットに着目すると、

101101000111010 0


と、なっている。つまりこれは、過去17回が、「10110100011101」の時、次に来るのは「0」と一意に決まる。
同様に、1ビットづつずらして、
0110100011101000→1
1101000111010001→1
1010001110100011→1
0100011101000111→0

というパターンを得ることができる。

これを131071パターン全部集めてソートすると、
0000000000000000→1
0000000000000001→1
0000000000000010→1
0000000000000011→1
0000000000000100→1
0000000000000101→1
     ・
     ・
     ・
00001111111111110→1
00001111111111111→1
00010000000000000→0
00010000000000001→0
00010000000000010→0
     ・
     ・
     ・

という様な表が作れるので、これを論理圧縮することで、過去17回のデータから次の値を求める式を作れる。


以上、PSGの謎は全て解けた。

と、言いたいところなのだが、なぜか知らないけどノイズ周期レジスタ(#6)が0と1の時の周期が同じらしい。
不思議だ。。。。バグ?


2005/12/21 0:55
さて、ノイズジェネレーターの謎に迫る。

基本的に、既に先人の知恵(というか解析結果)を拝借して、
一応確証を取るだけというさぼりな方針で進む。

で、その、先人の解析結果というのは、昨日書いたとおり、

復刊MSXマガジン#3の115ページコラム。
M系列乱数の(p,q)=(17,14)というもの。


で、まずすることは、ノイズデータのサンプル。
まず、聞く。よーく聞く。
よーーーく聞くと、(データレコーダーの音を聞いて何の
プログラムか解るくらいの人なら)周期があるのが解ると思う。

結構、周期は長い。少なくともオシロのサンプル数じゃ足りない。

では、やること。
「録音」

chAでノイズ周波数に同期したトーンを発生させて、
chBでノイズを発生、それをステレオで録音して、トーンのエッジを
基準にノイズをサンプルする。


という手段を考えた物の、「USB Sound Blaster Digital Music」を使ってみた物の、
波形がなまって正確にサンプルできないという結果に終わる。

じゃあ、これ以上のクオリティを求められるとすれば、登場するのは「TCD-D100」。
まさか、DATもこんなことに使われるとは思ってもいるまい。
ここからSPDIFで吸い上げれば劣化もほとんどなかろう。

こいつは値段相応だけあって、さすがというか、期待通りの結果を残してくれた。

録音したwavファイルを適当に作ったVBAで解析させると、
131071周期のビット列を拾い出せた。2周期取り出して1bitの狂いもない。優秀だ。

131071周期ということで、p=17というのはほぼ間違いないと思われる。
しかし、q=14はどうも一致しない気がする。

17ビット長のM系列乱数で、周期が131071となるのは、
q=14,12,11,6,5,3
だけ。

しかしどれとも一致しない。もってくるビットが違うとか、反転してるとかの可能性は大いにあるが・・・。

というわけで、また続く。
いい加減整理してまとめよう。


2005/12/20 2:05
昨日の続き。

実はPSGはSCCよりも謎な部分が多いかもしれない。

まずはボリュームの疑問。

ちなみに、仕様書では、


という記載がある。このグラフを元にフルレンジを1023にして昨日の式を作った(10bitじゃないと32段階表現出来ない)のだが、
まずそもそも、あのわけわからん式はもっと簡単になるじゃん。

    =2(n-31)/4

ですね。あ、これはフルレンジが1。

で、何が疑問かというと、ボリューム値0(#8~10レジスタ値0)の場合の扱い。
とりあえず、レジスタ設定値ボリューム値の対応は、上のグラフから途中までは読み取れる。
設定値 内部ボリューム値
15 31
14 29
13 27
12 25
11 23
という感じだわな。で、その関係だと、設定値0だと、内部ボリューム値は1になるはず。
このあたりはグラフから読み取るのは厳しい。
なので、やはりコレは実測しかない。しかしGTはノイズだらけでこんな所は測定できない。

というわけで、標本にされたのは、アナログ部にやたら気合いの入ってるvictorのHC-95(デジタル部は・・・・・)。
それにより測定した結果だと、やはり設定値0の場合は、発音停止状態と同じ状態になる。
つまり設定値0は特例だと。

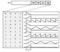
そうすると、次に疑問になるのは、エンベローブ時の状態。これも実測あるのみ。
で、その結果がこれ。



さて、見て解るとおり、最下部が変に下がっているのが解ります。
その1段上は内部ボリューム値1。さらに上は内部ボリューム値2。
最下段は発音停止時と同じ電圧。やはり、内部ボリューム値0の時も特例の様だ。

あと、事前に計っておいた、ボリューム設定値0~15の電圧と、
この波形から読み取れる電圧を比較していくと、(少なくともここから読み取れる箇所は)さっきの対応表通り
ということも確認できた。

これら全部を総合すると、ボリューム設定値と、内部ボリューム値と、出力電圧の関係はこんな感じになる。
ボリューム
設定値
内部
ボリューム値(n)
出力電圧
=2(n-31)/4
15 31 1.000
  30 0.841
14 29 0.707
  28 0.595
13 27 0.500






  3 0.008
1 2 0.007
  1 0.006
0 0 0
ってな感じで、0のみ例外ということらしい。ちなみに9bit解像度だと、0.007と0.006は同値になるんで、
これを再現するには最低10bit必要というわけです。



以上、ボリュームの謎に関しては終了。
あとは、ノイズジェネレーターの乱数生成式。
これは、MSXマガジンの1chipMSXの所に式書いてあったような気がするなー。
でも、AY-3-8910とYM2149とMSX-ENGINEで同じなんだろうか?

ちなみに、chAとchBでノイズを出力した場合、まったく同じ波形がでてくるので、
ノイズジェンが一つしか無いのは確実(YM2149の場合)。


ってか、そもそもここはこんなことを書く場所ではないんで、
MSXのほうにいずれまとめておきます。はい。

2005/12/18 23:34
最近またくだらないことを始める。
YM2149(AY-3-8910上位互換)とか解析してると、





これの「1110」とか。実際には、



という様な出力電圧の変化をしていて、地味に出力電圧の分解能は10bitくらいあるらしいとか。
エンベローブはYM2149は32段階という話は聞いたことあったが。。。。

ボリューム値(0~31)をnとすると、出力されるDA(10bit)値は、

=1023/256*POWER(POWER(2,1/4),n+1)

になりそうな感じ(注:excel式)。


とすると、実はボリューム値0でも、0にはならないので、本当は音は出てるんじゃないかとか、
疑問が出たりして。フルレンジで1Vだから、ボリューム値0だと、5mVの電圧がでてるはず・・・・・。
しかし、A1GTはノイズ多すぎてサンプル標本にならんのだ。。。。

2005/12/14 23:22
続・シャープサービスセンター。


もう続きたくないんだが・・・・・・。


旧メビが壊れる。
あんたの所の技術なんて信用しねーよ。自分で直してやる、
というわけで、シャープのサービスセンターで11月始めに補修部品を注文した。
在庫がないということなので、取り寄せをお願いする。
そのときに、「本当は修理に出して欲しいんですけど・・・」ということを言われたので、
(過去別件でも色々再修理あったんで)「あんたの所信用できねーよ」という旨の
ことを言ったのだが、「それは偏見です」とのことだそうで。


で、待たされること一ヵ月。


あまりにも時間がかかるんで、確認の電話をすると、
「もう入荷してますよ」とのこと。

あー、そうですか。入荷したら連絡するって言ったじゃんかよ。
しかも、電話対応した人は、「申し訳ありません」の一言すらない。

で、いざ取りに行くと、注文してないものまで取り寄せていて、さらに代金まで取られる。
注文したときの担当の人はそのときは休みだったとのことなので、とりあえず文句言って帰る。


で、数日待つも連絡すらこねぇ。


というわけで、しゃーないからまたこっちから連絡。


受付に話した内容、担当に伝わってねーよ。。。。。


と言うわけで、同じ説明をまたする。


もう、何が「偏見」だよ、やっぱりまともな仕事できねーんじゃねーかよ。

もう技術無いとかそんなレベルじゃねーよ。
受付すらまともに出来てないじゃん。



というわけで、シャープはどうせそんな会社ですよ・・・・・。






ところで、全然関係ないが、W-ZERO3欲しい。。。。。。。。
今朝、ビックカメラで売ってたんだよね。
なんだ、前評判の割に余ってるじゃんとか思ったら、やっぱりどこも即日完売らしい。ふむ。。。。
確かに、今朝見たときは開店直後だったかも。。。。

で、シャープ。うぐぅ。


2005/12/11 23:16
XBOX買いました。ちなみに、一緒に買ったソフトはリッジ6です。


ええ、すげぇです。
ものすげぇ綺麗です。ハイデフTVに繋ぐと、もうビックリです。

リッジ6に関して言うと、コース奥のオブジェクトとかも全く省略されないで、
場所的に見えるべきオブジェクトは全部書いているんじゃないかなー、と。
ある程度近づいたら、パッっと木とか人とかが現れる、なんてことが無いわけで。

が、しかし。
綺麗だからといって面白いとは限らない。

はっきりいって、30分で飽きました。確かに、操作感とドリフトしてる感は間違いなくリッジ。
車の挙動もリッジ。
(まぁ、悪く言えばリッジは自動車の動きじゃないんだが、それはそういうのを目指しているのだろうから別問題。
あんな簡単にドリフトが決まるわけがないけど、いかにもドリフトしてる気分にはなる、とか。
ビーマニが楽器弾いてる気分になれるのに近いかもね。)

でも、ゲーム全体の印象からすると、スタッフからこんな言葉が伝わってきそうな感じです。

「見て見て!うちらこんなに頑張って車をモデリングしたんだよ。凄いでしょ?綺麗でしょ?
背景とかも綺麗で見飽きないでしょ?車の写り込みとかも綺麗でしょ?」

・・・・ってな感じなんですよ。
はっきりいって、これはXBOXの機能を示すデモ以上にはなれないんじゃないかと。
確かに、XBOXをでかいHDプラズマとかに繋いでデモとかやれば、それだけで目を引くことはできるとおもう。

でも、それまでなんですよ。ゲーム性としては・・・・・。
もしこれがアーケードなら、一回200円払ってでもやりたいゲームじゃないね。




ところで、私はXBOXをヨドバシで買いました。
えーと、札幌の人じゃないと解らないと思うので、まず地図。


実はここ、家電激戦区なんです。
ヨドバシとベストなんて、本当に隣り合ってるし。

ちなみに、集客力はヨドバシ≒ビック≫ベスト
ビックは家電以外も手広く扱ってる関係上、今この時期(クリスマス商戦)は、
ヨドバシ以上の集客力がある感じ。
それに対し、ベストは、何故潰れないのか不思議なくらい客が入ってない。つーか、店員が売る気無い。

が、しかし、ベストには、「ヨドバシ、ビックより絶対安くします!」という看板がでてるんですよ(本当に名指しで)。
で、XBOXが・・・・

ヨドバシ:\38800 (yodobashi.comと同じだね)
ベスト:\38000
ビック:遠いので未調査、biccamera.comは\38800

・・・ベスト安いです。本気で。

ところで、ヨドバシにも「他店より高い商品がありましたら云々」という張り紙が貼ってあった。
というわけで、ヨドバシにチクりを入れたところ、カウンター奥で検討した様子でちょっと待たされた後、\38000で出します、と。
おー、頑張るなぁ。「この商品はちょっと・・・・」って言われても仕方ないかなーともおもったんだけども。

2005/12/10 5:14
ECO復活ーーーー!

なんか、数日なのに、すげぇ久しぶりな感じ。

(C)2005 BROCCOLI/GungHo Online Entertainment,Inc.,/HEADLOCK Inc.,
当コンテンツの再利用(再転載、再配布など)は禁止しております。

ゲマ屋特典でじこ。

髪はライトグリーンの方が良かったかな・・・?

明日はxbox発売日。予約してあるから問題はないが、
朝7時からヨドバシとビックカメラで売るらしい。

無駄に並ぶべきかどうするか・・・・・。
見たい気もする。


2005/12/5 0:48
ぐわはっ。
つい先日買ったばかりの液晶に、ビデオのリモコンをぶつけてガッチリ傷を付けてしまった・・・・。




と、思いきや、気合いを入れて拭くとほとんど消える。
どうやら液晶表面に傷が付いたわけではなく、リモコンが削れたようだ。

意外に傷付かない物なのね。

ところで、設置場所はとりあえず確保。
意外に、液晶の遅さとかは全く気にならない。
むしろ大きくなって快適。

あと、気付いたこと。液晶も結構熱いのね。


ホームに戻る